双转子锤刨机

1概述
1.1 主要用途及适用范围
双转子锤片式粉碎机结构合理,效率大,适用范围广,主要应用于各类生物质物料的高效率、高产能粉碎,如树枝树皮、小麦秸秆、玉米秸秆等。
适用于中小型刨花板和纤维板生物质企业的备料工段,也可用于个体户进行木片粉碎工段。
1.2 产品特点
1.2.1运用现代最新粉碎理论设计制成,双转子、双倍切线速度撞击。
1.2.2 充分优化的锤片排列,使粉碎的效率更高。
1.2.3 轴向补风设计,有效破坏环流层,有利物料的粉碎和过筛,同时也有利轴承的降温。
1.2.4 包括高精度的动平衡在内的各项精密检测,确保运转更平稳,噪音更低,性能更理想。
1.2.5 可正反向工作的转子,大大延长易损件的使用寿命。
1.2.6 可移位的全开式操作门和安全互锁装置,以保证开门的方便和安全。
1.2.7 联动式压筛机构,使筛片的更换操作更方便可靠。
1.2.8该设计改变了物料在粉碎室内的运动线路,充分利用粉碎室空间扩大了粉碎面积,并最大限度的保护了筛片,使筛片的使用寿命提高1倍以上,
1.3 工作条件
1.3.1 为最大限度发挥粉碎机的效能,建议进料尺寸不大于30mm,水分不大于18%。
1.3.2 工艺上与粉碎机前后配套的设备应匹配,建议采用风运出料方式,同时必须配备足够的吸风。
1.3.3 工作电压应稳定,偏差不大于±5%;
2 主要技术参数及性能指标
2.1主要技术参数
主要技术参数见表1:
| 型 号 规 格 | FSP120×60 | |
| 主轴转速(r/min) | 1480 | |
| 转子直径(mm) | 1200 | |
| 粉碎室宽度(mm) | 700 | |
| 配用动力(kW) | 110×2 | |
| 锤片数量(片) | 252 | |
| 外形尺寸 | 长(mm) | 3000 |
| 宽(mm) | 3000 | |
| 高(mm) | 2900 | |
| 重量(t) | 11 | |
3 结构特征与工作原理
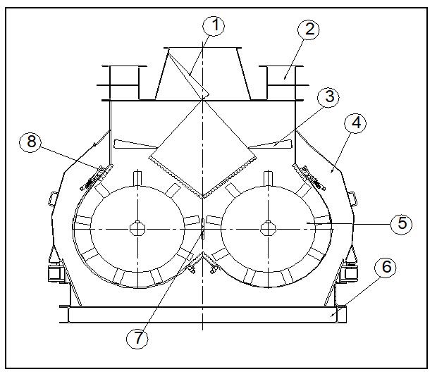
3.1 总体结构(见图一)


1、进料导向机构 2、进风调节板 3、进料板 4、操作门
5、转子 6、机座 7、中间调节板 8、齿板
图一 粉碎机结构示意图
本粉碎机采用钢板焊接结构,电动机与粉碎机转子安装在同一底座上,采用柱销联轴器直联传动;转子经动平衡校验,可正反向工作来延长易损件的使用寿命,操作门有安全互锁装置以保证操作门打开时电机无法启动;进料口在粉碎机顶部,锤片为对称排列。
